Sensor assembly
Ref:
78550
Category: Extra
78550 Sensor cell Cow and Bufalo.
78550SG Sensor cell Sheep and Goats.
Technical Data
Options
Options
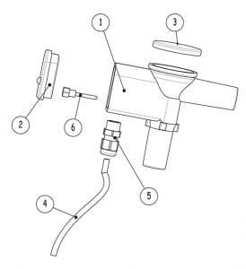
Pos. Ref.
1 – 78851 (COW)
1.2 – 78551SG (SHEEP AND GOATS)
2 – 78552
3 – 78553
4 – 78554
5 – 78555
6 – 77163

